Насосы радиально-поршневые Н400Е
|
|
Насосы Н-400 (Н400Е), Н 400 Е УХЛ4 радиально-поршневые с эксцентриковым валом нереверсивные, предназначены для общемашиностроительного применения в гидроприводах, где требуются давление до 40 МПа и однонаправленный нерегулируемый по величине поток рабочей жидкости. |
Основные параметры насосов Н400(У), Н401(У), Н403(У)
| Наименование параметра | Типоразмер насоса | ||
| Н 400 (Н 400 У) | Н 401 (Н 401 У) | Н 403 (Н 403 У) | |
| Рабочий объём, см³ | 4 | 12,5 | 25 |
| Номинальная частота вращения, об/мин. | 1500 | ||
| Номинальная подача, л/мин. | 5,5 ± 5% | 17,06 ± 5% | 34,12 ± 5% |
| Давление на выходе (мин./макс.), МПа | 20/28 | 32/40 | |
| Давление на входе (мин./макс.), МПа | 0,005/0,01 | ||
| Коэффициент подачи | 0,91 | ||
| КПД | 0,82 | 0,85 | 0,85 |
| Номинальная мощность, КВт | 2,2 | 10,5 | 21 |
| Направление вращение вала | правое | ||
| Масса (без рабочей жидкости), кг | 15 | 38 | 47 |
Примечание: в зависимости от завода-изготовителя насосы Н400 (Н401, Н403) могут иметь маркировку Н400У (Н401У, Н403У) и Н400УР (Н401УР, Н403УР) (например, Н401У – нереверсивный, только правое вращение, Н403УР – реверсивный) или НП 12/32, 25/32 нереверсивные.
Структура условного обозначения насосов Н400 (Н401, Н403)
| Н4 | ХХ | ХХХ | Х | ||||||
|
Категория размещения |
|||||||||
|
Климатическое исполнение |
|||||||||
|
Исполнение по рабочему объёму и давлению: 00 - 4см³ и 20МПа; 01 – 12,5см³ и 32МПа; 03 – 25см³ и 32МПа |
|||||||||
|
Обозначение типа насоса |
|||||||||
Пример условного обозначения насоса радиально-поршневого с эксцентриковым приводом вала с рабочим объёмом 12,5 см³ и номинальным давлением 320 бар с нереверсивным вращением вала, климатическое исполнение для районов с умеренным и холодным климатом, категория размещения 4:
Насос Н401 УХЛ4.
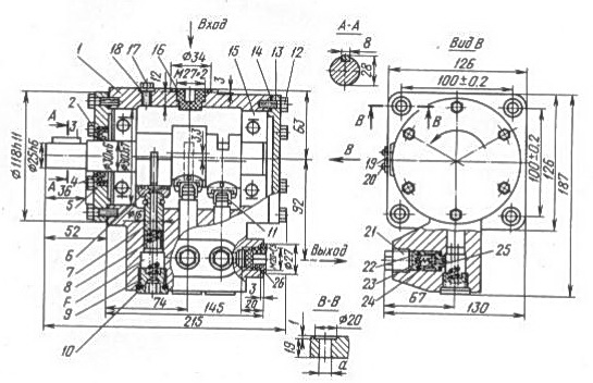
Габаритные и присоединительные размеры, принцип работы насоса Н400 (Н401, Н403)
|
Чертёж насоса Н400 (Н400У)
|
|
|
Насосы Н400 (Н400У) и Н401 (Н401У) имеют один ряд поршней, расположенных в Н400 (Н400У) — вертикально в Н401 (Н401У) - горизонтально. В насосах Н403 (Н403У) при двухрядном положении поршней, поршни находятся в горизонтальной плоскости, а эксцентрики приводного вала радиально-поршневого насоса приводят в движение одну пару поршней, которые расположены один напротив другого. Направление вращения вала любое. Для устранения воздушных пробок в картерной полости, в верхней части корпуса установлена пробка 3 для выпуска воздуха. |
|
|
Чертёж насоса Н401 (Н401У) |
Чертёж насоса Н403 (Н403У) |
|
Насосы Н400, Н401, Н403 (Н400У, Н401У, Н403У) должны устанавливаться в безопасных и удобных для обслуживания местах. Расположение насоса серии Н400 горизонтальное, всасывающим отверстием наверх. Крепление насоса серии Н400 происходит с помощью фланца на корпусе и посадочного места на передней крышке корпуса. Насосы радиально-поршневые с эксцентриковым валом нереверсируемые крепятся на лапах, выполненных на корпусе. Кронштейн к которому прикрепляется насос должен быть жестким и не допускать вибрации. Так как насос работает с подпором на всасывании, устанавливать его надо под масляным баком или на линии нагнетания давления вспомогательного насоса. Можно также устанавливать насос на дне маслобака. Во всех случаях высота подпора масла от оси проводного вала должна быть от 500 до 1000 мм масляного столба. |
Насосы радиально-поршневые Н400Е, Н401Е, Н403Е (Н400УР, Н401УР, Н403УР) реверсивные
|
|
Насосы Н400Е, Н401Е, Н403Е, Н400УР, Н401УР, Н403УР УХЛ4 - радиально-поршневые эксцентриковые реверсивные, предназначены для работы в гидроприводах машин и механизмов, где необходимо давления 20 МПа (насос Н 400 Е) и 32 МПа (насосы Н 401 Е и Н 403 Е) и реверсируемый по направлению, нерегулируемый по величине поток рабочей жидкости. |
|
|
Насосы типа Н400 работают на масле очищенном не грубее 13 класса по ГОСТ 17216-71, при номинальной тонкости фильтрации 25 мкм. Рекомендуемые марки масел: ИГП-30, ИГП-49 ТУ.3.810.1413-97; ВНИИ ИП-403 ГОСТ 16728-78, индустриальные И-20А...И40А ГОСТ 20799-88. |
||
| Наименование параметра | Типоразмер насоса | ||
| Н 400 Е (Н 400 УР) | Н 401 Е (Н 401 УР) | Н 403 Е (Н 403 УР) | |
| Рабочий объём, см³ | 4 | 12,5 | 25 |
| Номинальная частота вращения, об/мин. | 1500 | ||
| Номинальная подача, л/мин. | 5,5 ± 5% | 17,06 ± 5% | 34,12 ± 5% |
| Давление на выходе (мин./макс.), МПа | 20/28 | 32/40 | |
| Давление на входе (мин./макс.), МПа | 0,005/ 0,01 | ||
| Коэффициент подачи | 0,91 | ||
| КПД | 0,82 | 0,85 | 0,85 |
| Номинальная мощность, КВт | 2,2 | 10,5 | 21 |
| Направление вращение вала | любое | ||
| Масса (без рабочей жидкости), кг | 15 | 38 | 47 |
Основные параметры насосов Н400Е, Н401Е, Н403Е (Н400УР, Н401УР, Н403УР)
Примечание: в зависимости от завода-изготовителя реверсивные насосы Н400Е (Н401Е, Н403Е) могут иметь маркировку Н400УР (Н401УР, Н403УР) или НП-4/32, НП-12/32Е, НП-25/32Е.
Структура условного обозначения насосов Н400
| Н4 | ХХ | Е | Х Х | ||||||
|
Климатическое исполнение и категория размещения |
|||||||||
|
Модернизированная конструкция (реверсивное вращение) |
|||||||||
|
Исполнение по рабочему объёму и давлению: 00 - 4см³ и 20МПа; 01 – 12,5см³ и 32МПа; 03 – 25см³ и 32МПа |
|||||||||
|
Обозначение типа насоса |
|||||||||
Пример условного обозначения насоса радиально-поршневого эксцентрикового реверсивного с рабочим объёмом 25 см³ и номинальным давлением 32 МПа модернизированной конструкции с реверсивным вращением климатическое исполнение для районов с умеренным и холодным климатом, категория размещения 4:
Насос Н403Е УХЛ4.
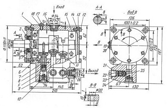
Габаритные и присоединительные размеры, принцип работы насоса Н400Е (Н401Е, Н403Е)
|
Чертёж насоса Н 400 Е (Н 400 УР) |
|
|
Корпус насоса 1 и крышки 5, 13 образуют картер насоса, который заполнен маслом. В корпусе 1 насоса имеются отверстия для установки при помощи болтов на плите (для насосов Н401 и Н403) или на кронштейне (для насоса Н400). В расточках корпуса на подшипниках 15 установлен приводной вал 2, с тремя эксцентриками. |
|
|
Чертёж насоса Н401Е (Н401УР)
|
Чертёж насоса Н403Е (Н403УР)
|
|
Перед включением радиально-поршневого реверсивного насоса серии Н400Е необходимо: |
Насосная установка Н403Е (Н401Е, Н400Е) (пример взят из паспорта на пресс П5897)
|
|
|
Пример использования радиально-поршневых насосов:
Н401Е - пресс гидравлический вулканизационный 250-600 4Э.
Н403Е - пресс гидравлический П5897.
Насос радиально-поршневой Н400УР
|
|
Основные параметры насоса Н-400УР, Н 400 УР УХЛ4: |
Насос радиально-поршневой Н400У
|
|
Основные параметры насоса Н-400У, Н 400 У УХЛ4: |
Насос радиально-поршневой Н401У
|
|
Основные параметры насоса Н-401У, Н 401 У УХЛ4: |
Насос радиально-поршневой Н403У
|
|
Основные параметры радиально-поршневого насоса Н-403У, Н 403 У, Н-403 УХЛ4: - направление вращения - правое; |
Насос радиально-поршневой Н401Е
|
|
Основные параметры насоса Н-401Е, Н 401 Е УХЛ4: |
Насос радиально-поршневой Н400Е
|
|
Основные параметры насоса Н-400Е, Н 400 Е(УР) УХЛ4: |
Варианты поисковых запросов насоса радиально-поршневого с эксцентриковым приводом вала нереверсивного серии Н400:
Насос Н400 УХЛ4, Н 400 УХЛ4, Н 400 УХЛ 4, Н401 УХЛ4, Н-401-УХЛ4, Н-401 УХЛ 4, Н403 УХЛ4, Н-403-УХЛ4, Н 403 УХЛ 4, Н400У УХЛ4, Н 400 У УХЛ4, Н 400У УХЛ 4, Н401У УХЛ4, Н 401 У УХЛ4, Н 401У УХЛ 4, Н403У УХЛ4, Н 403 У УХЛ4, Н-403У УХЛ 4.







